免费全国空降app入口在哪里,同城100带吹电话,全国空降同城免费,怎么找到晚上接活女

  • 服务热线:021-51099973

电动球阀

多仪阀门球阀电动球阀系列
电动硬密封球阀

电动硬密封球阀

  • 阀门型号:Q941H,Q941Y
  • 通径规格:DN15~DN300
  • 结构形式:O型、V型
  • 阀体材质:碳钢WCB、不锈钢304、316、316L等
  • 公称压力:PN16、PN25、PN40、PN64
  • 适用温度:-40℃~450℃
  • 应用范围:高温蒸汽导热油、其它液体、腐蚀性介质等
  • 产品特点:耐高温,耐磨损,耐高压,防腐蚀,不宜暴裂
电动硬密封球阀简介:

 

电动硬密封球阀的阀座密封面与球体密封面材料配对为金属对金属,具有耐高温,耐磨损,耐高压,防腐蚀,不宜暴裂等优点。该阀只需通过执行器输入相关电源信号来控制阀门的启闭,通常用于管道介质的开关两位切断,或控制阀门的旋转开度达到调节控制。用户可根据实际情况选配带手动控制功能,以防在遇到断电或电动装置故障时,可人为手动控制电动球阀的开关,从而保证工况的正常运行。

电动硬密封球阀应用:

电动硬密封球阀不仅在一般工业管道得到了广泛应用,而且在高温高压工况或具有腐蚀性介质以等,工作条件恶劣的严峻场所也被普遍采用,具有高强度、优良的耐磨损与耐温的性能,广泛应用于石油、石化、化工、冶金、电力、钢铁、水利、城建、机械、煤炭等行业。
电动硬密封球阀标准规范:
 
1、设计与制造:GB12237-89、API608、API 6D、JPI 7S-48、BS5351、DIN3357。

2、法兰尺寸:JB/T74~90(JB74~90)、GB9112~9131、HGJ44~76、

SH3406、ANSI B16.5、JIS B2212~2214、NF E29-211、DIN2543。

3、结构长度:GB12221-89、ANSI B16.10、JIS B2002、NF E29-305、DIN3202。
4、检验主试验:JB/T 9092、API 598。
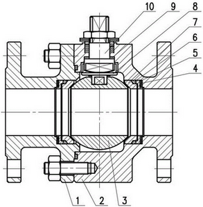
硬密封球阀结构
硬密封球阀结构
电动硬密封球阀技术参数:

公称通径DN15~DN300(mm)
公称压力PN1.0、1.6、2.5、6.4MPa
连接方式法兰连接或其他
密封形式金属硬密封
电源电压AC220V、AC380V、DC24(其他定制)
驱动形式电源驱动
温度范围-40℃~450℃
阀体材质碳钢WCB、不锈钢304、316、316L等
控制方式开关型(开关切断控制)、调节型(4-20mA模拟信号)
适用介质高温蒸汽导热油、其它液体、腐蚀性介质等

 

相关产品:气动硬密封球阀    不锈钢电动法兰球阀    

上一篇:防爆电动球阀 下一篇:电动切断球阀
?